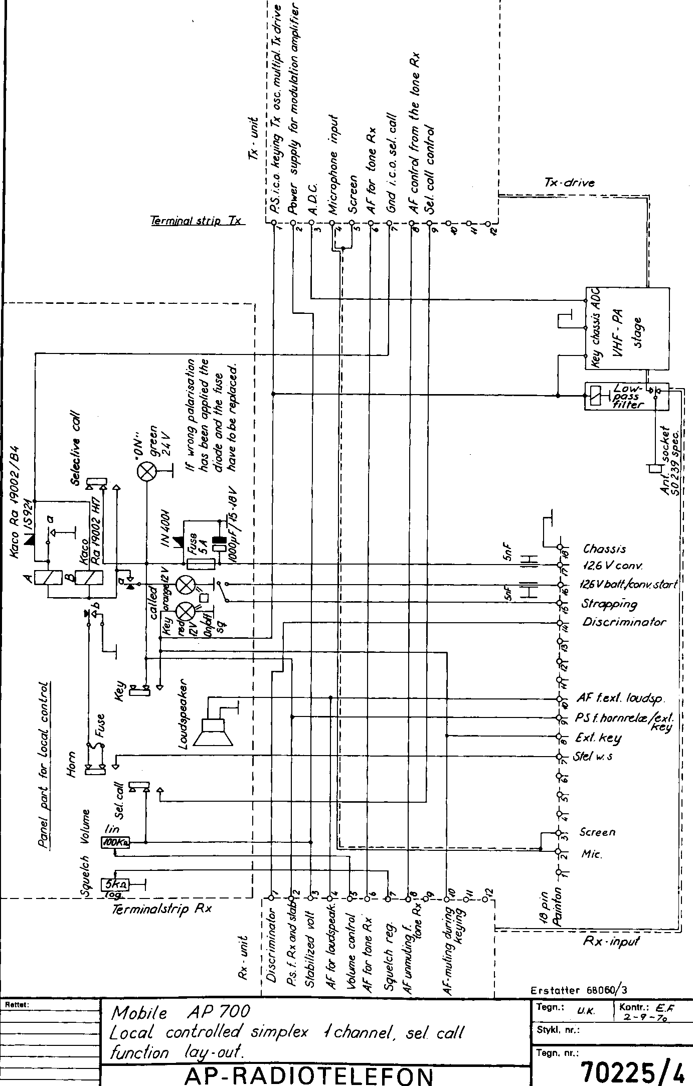
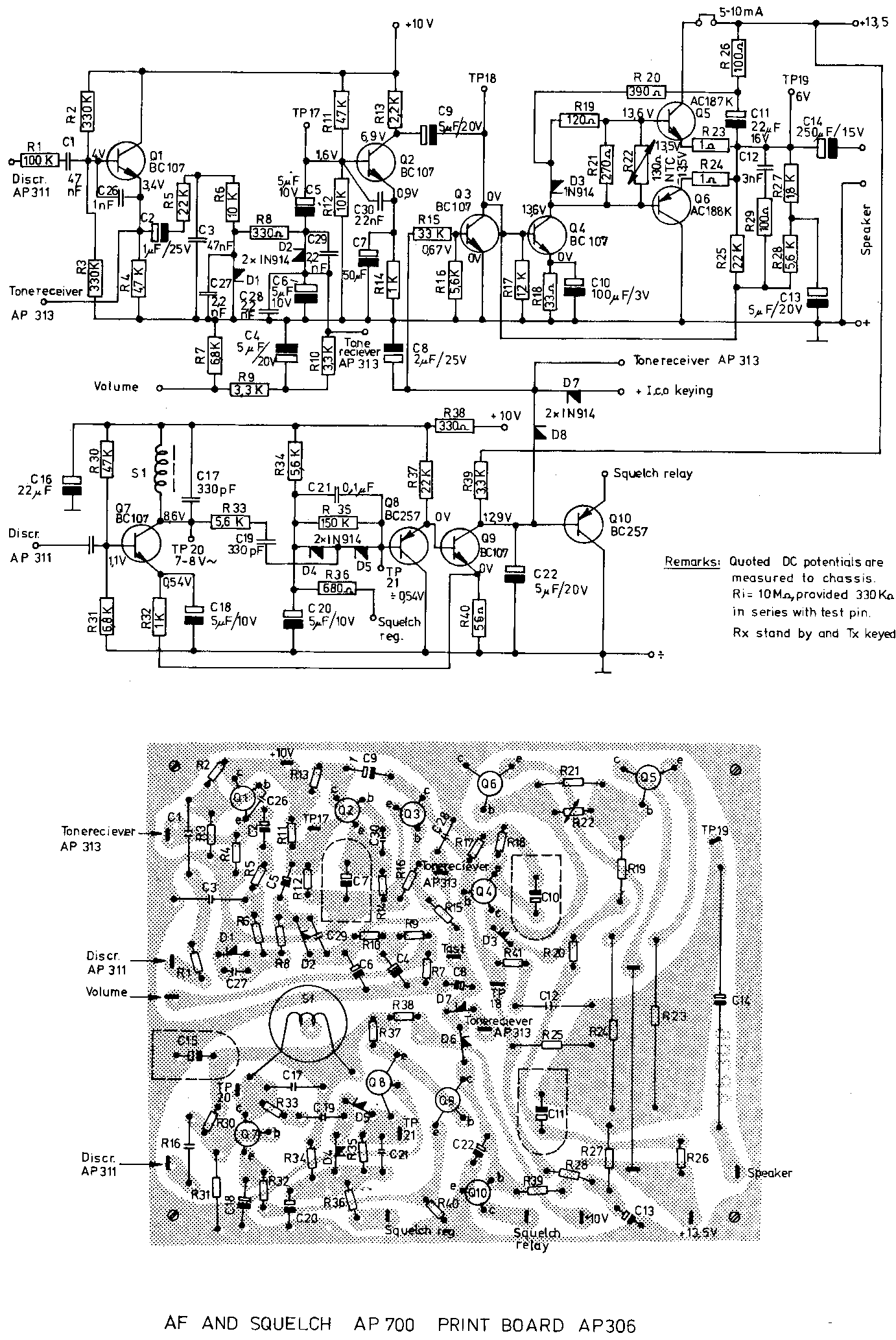
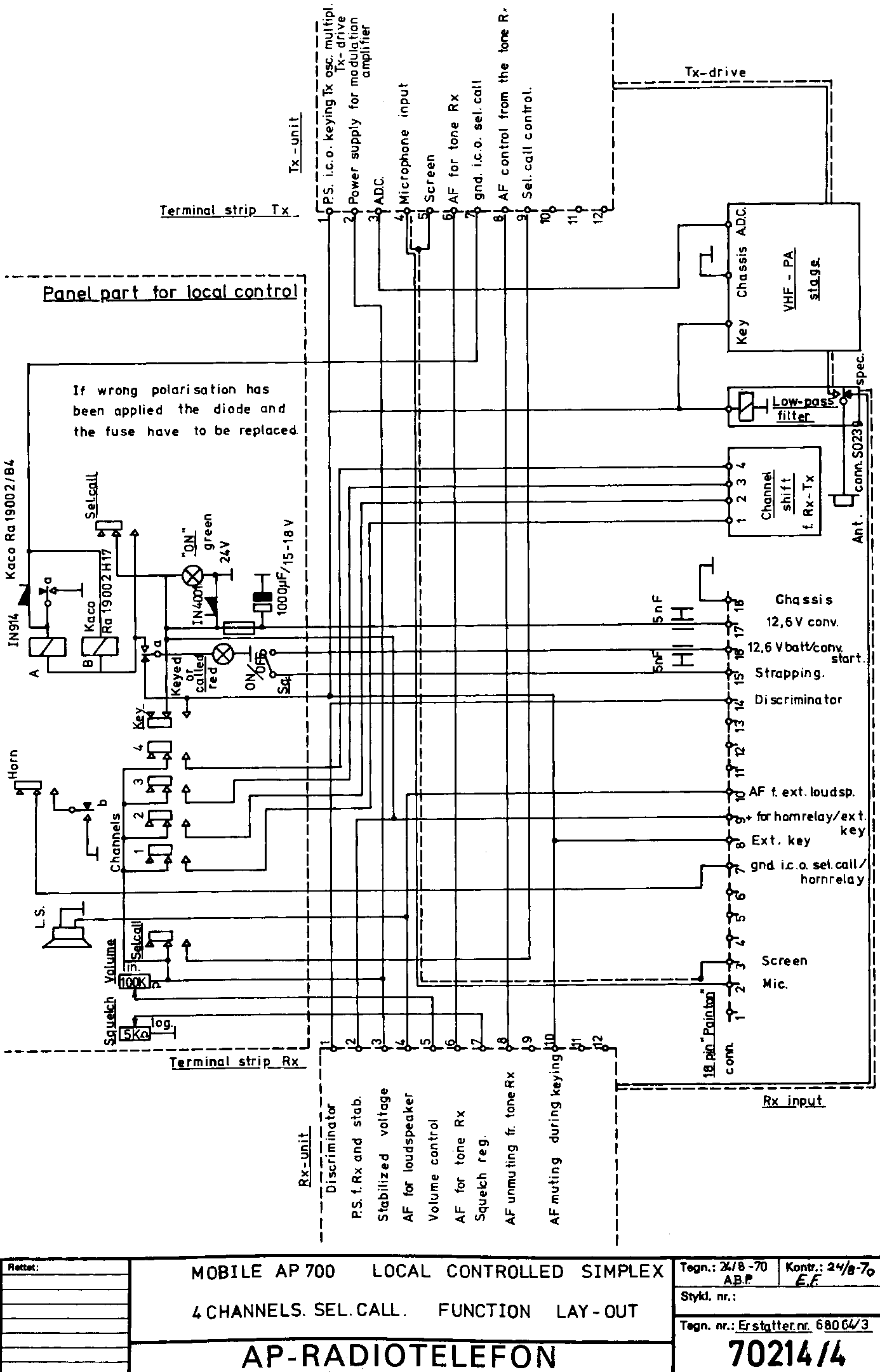
AP 700 Hovedsiden.

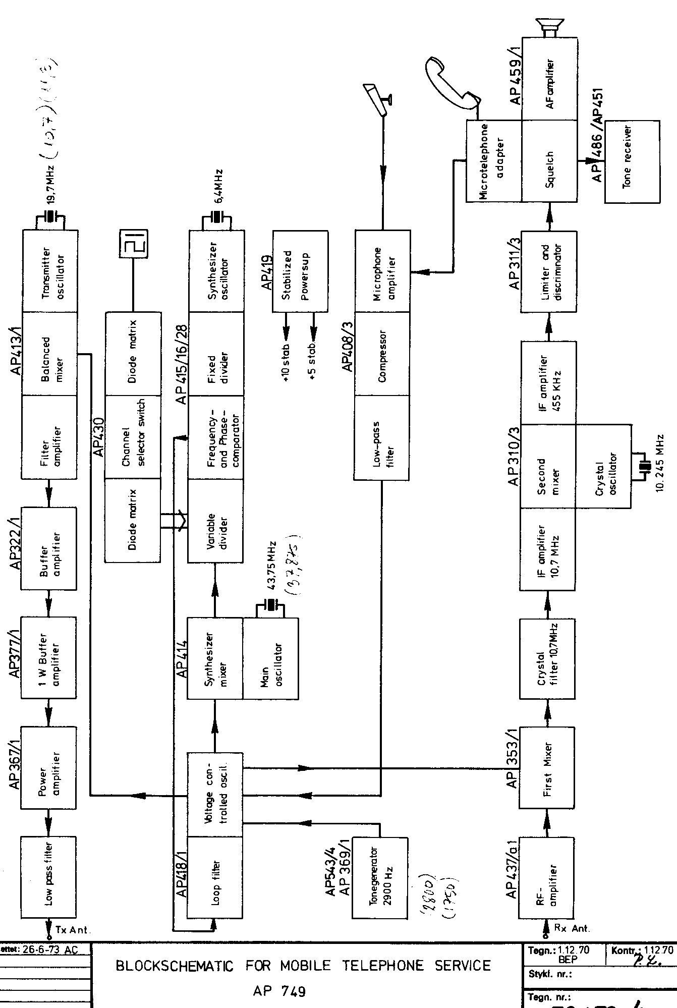
Her er en AP710A 4meter 1kanal 25Watt med tone sender og modtager.
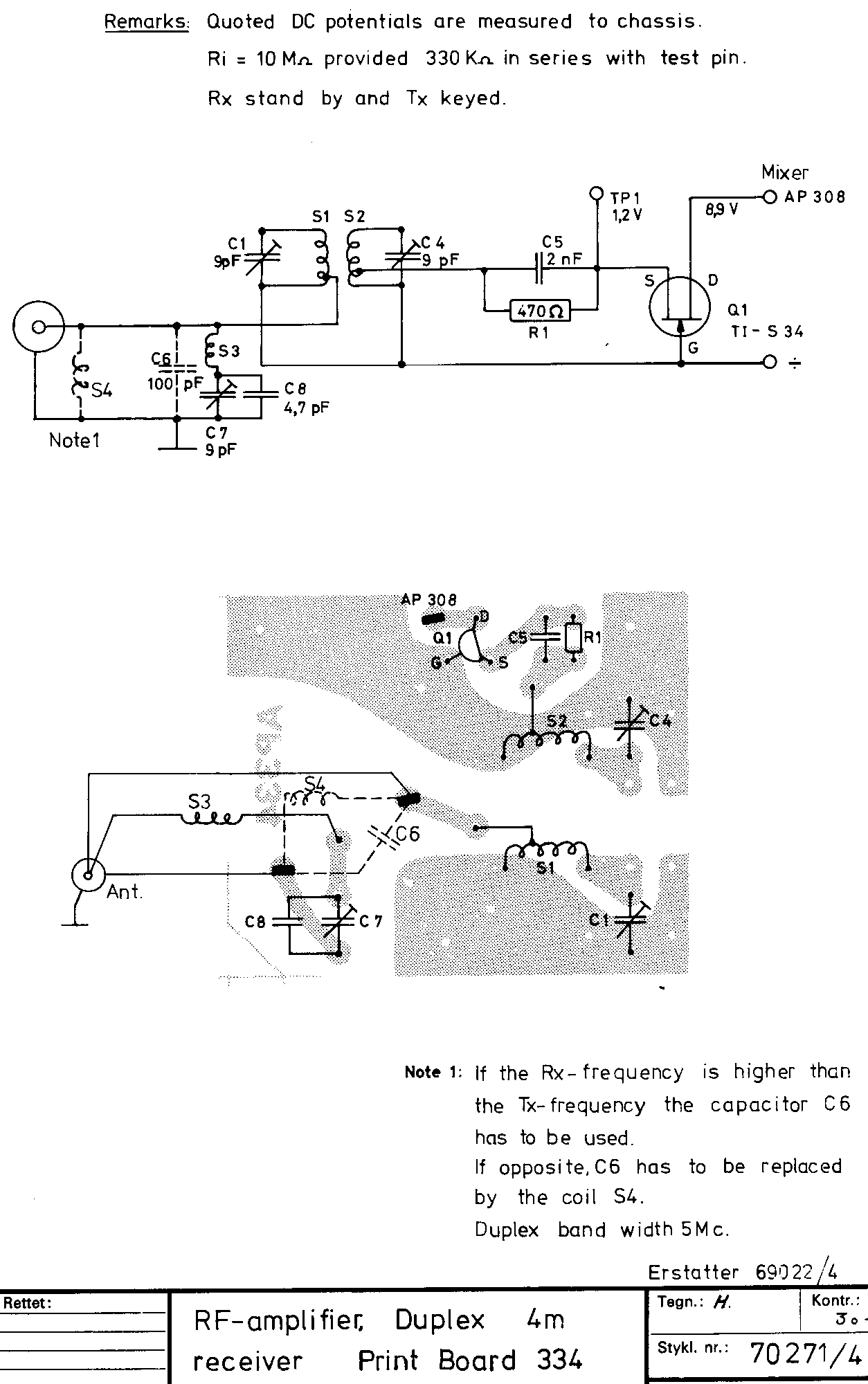
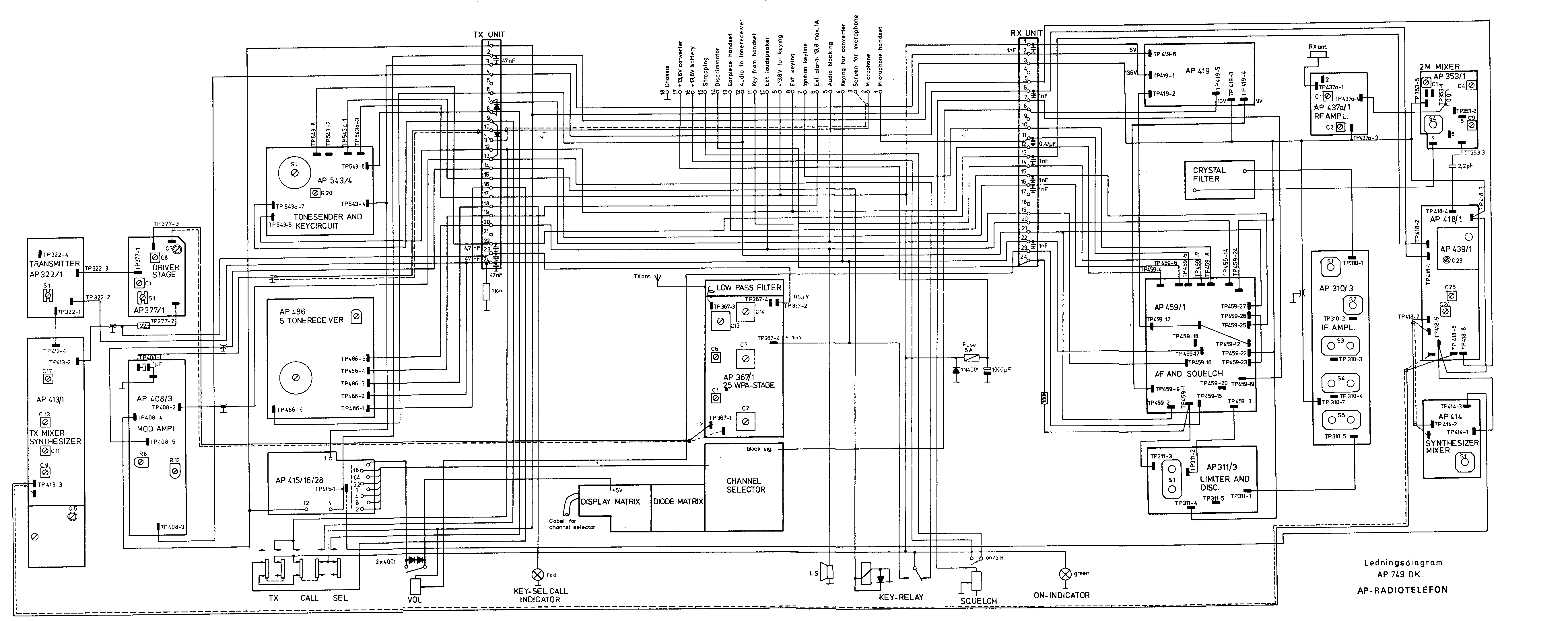
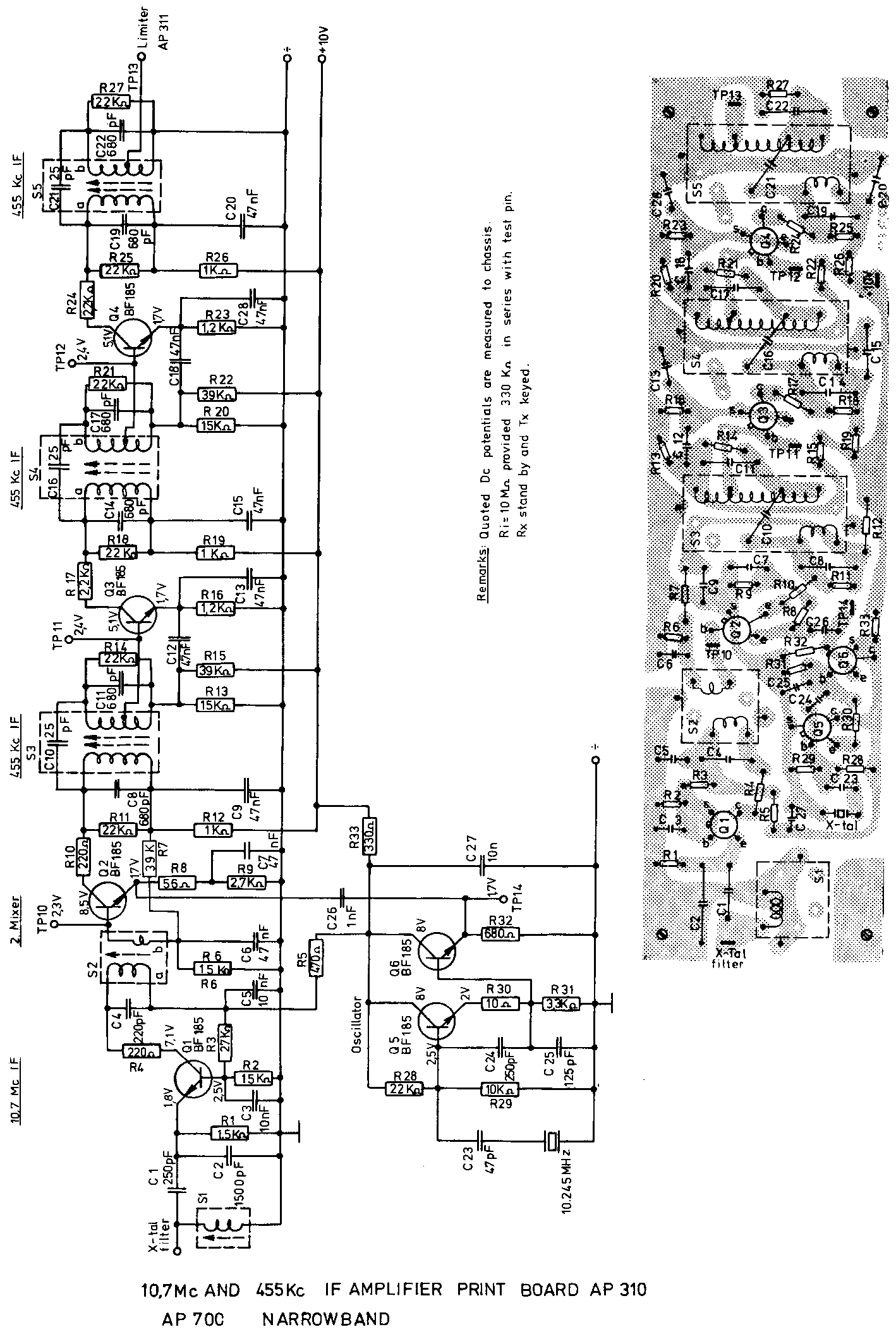
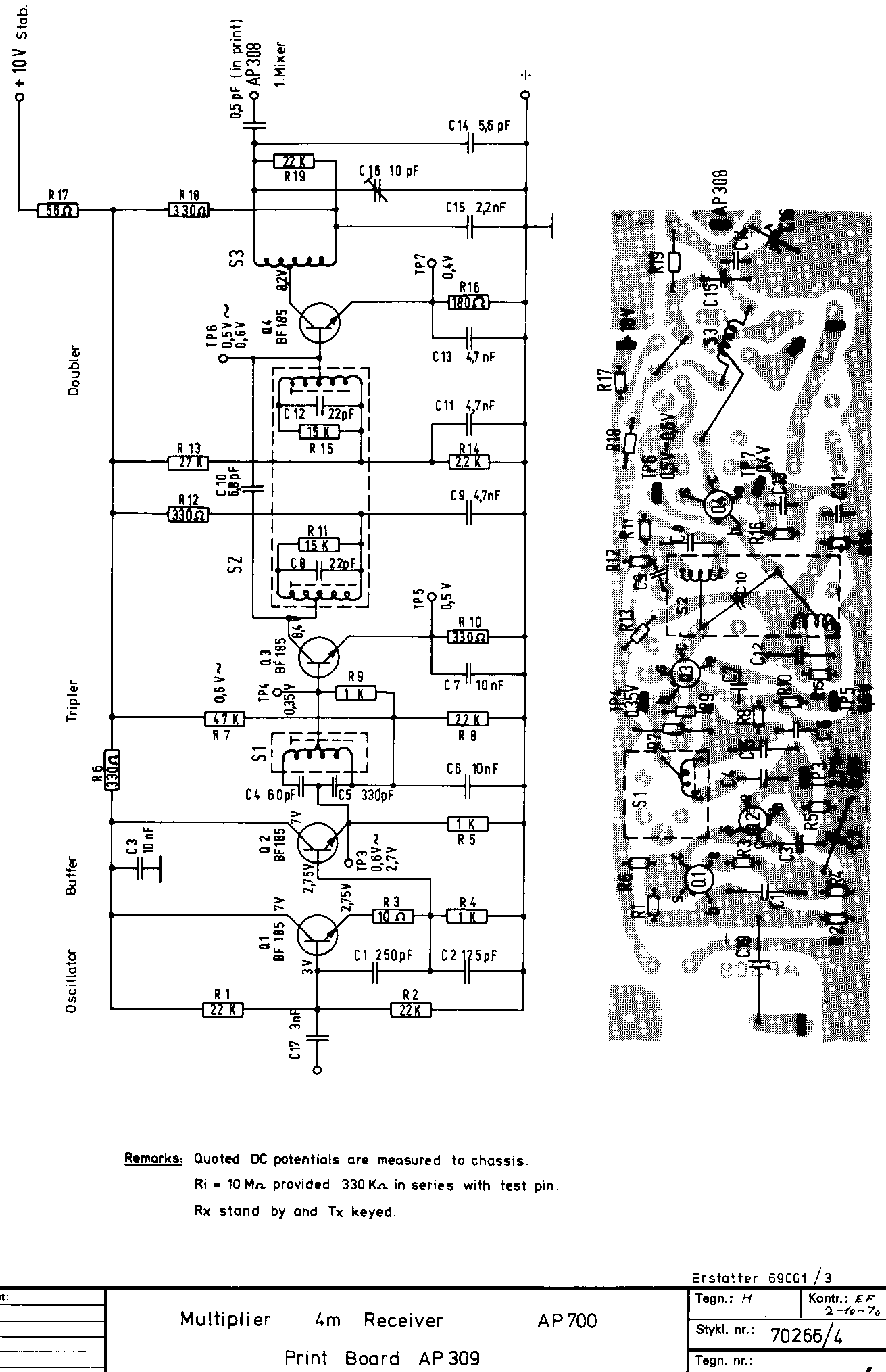
4m modtager har 2 mellemfrekvenser: 10.7Mhz og 455Khz
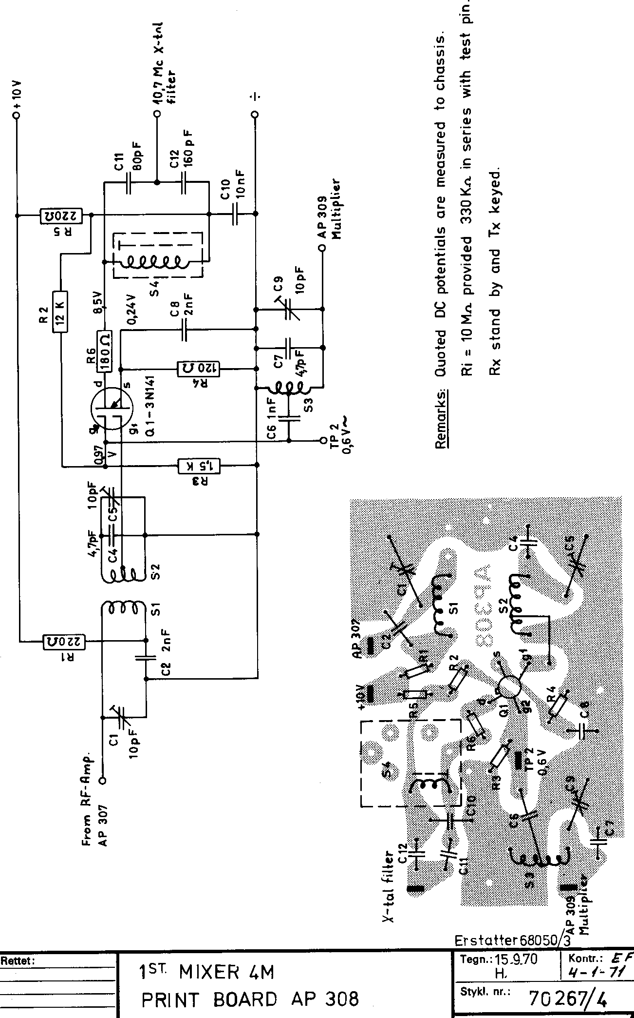
Modtager blander injection signal er underliggende, modtager krystal frekvens eksempel:
Xtal 11.591666 Mhz * 6 = 69.550 blander frekvens + 10.7 = 80.250 Modtager frekvens. ( tribler - doubler )
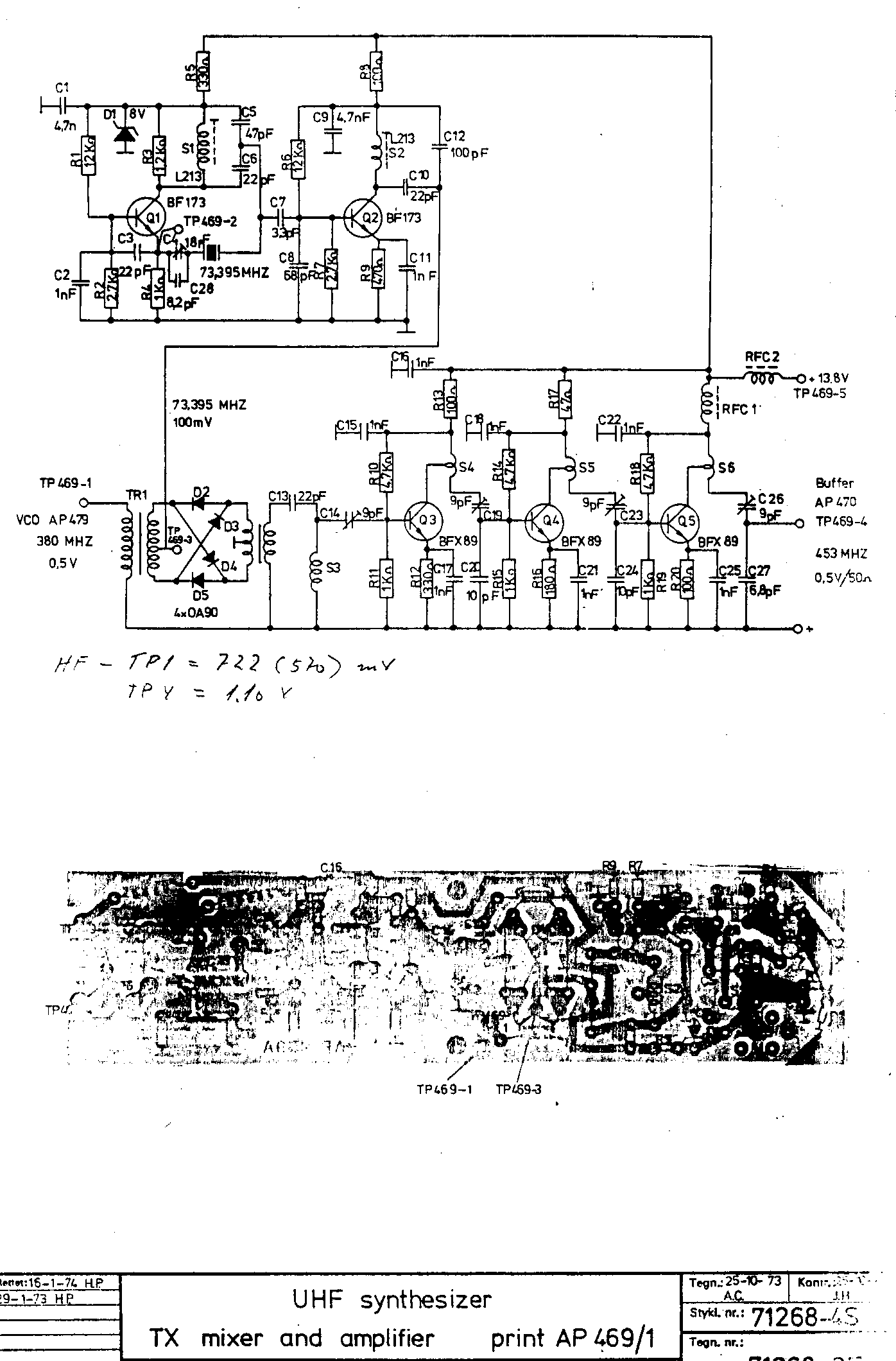
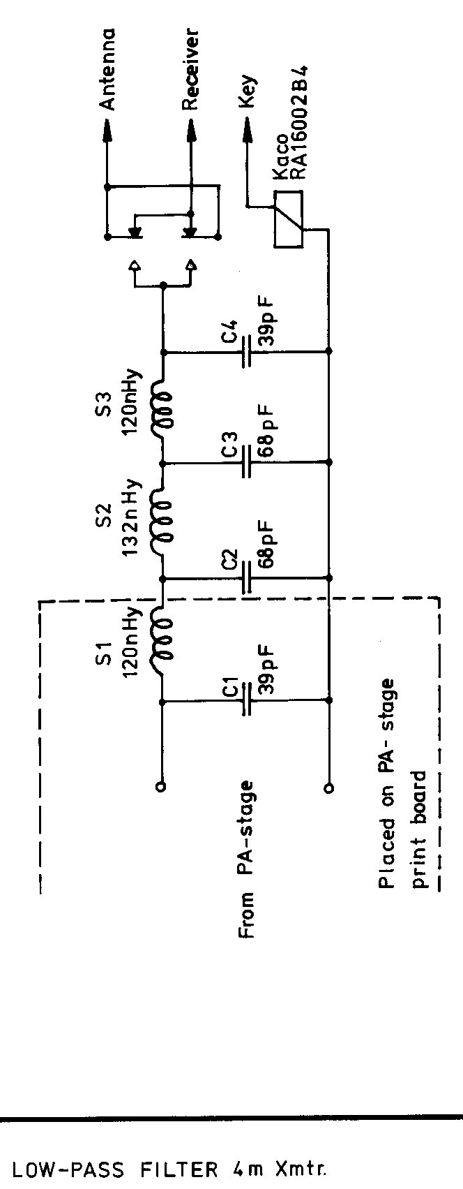
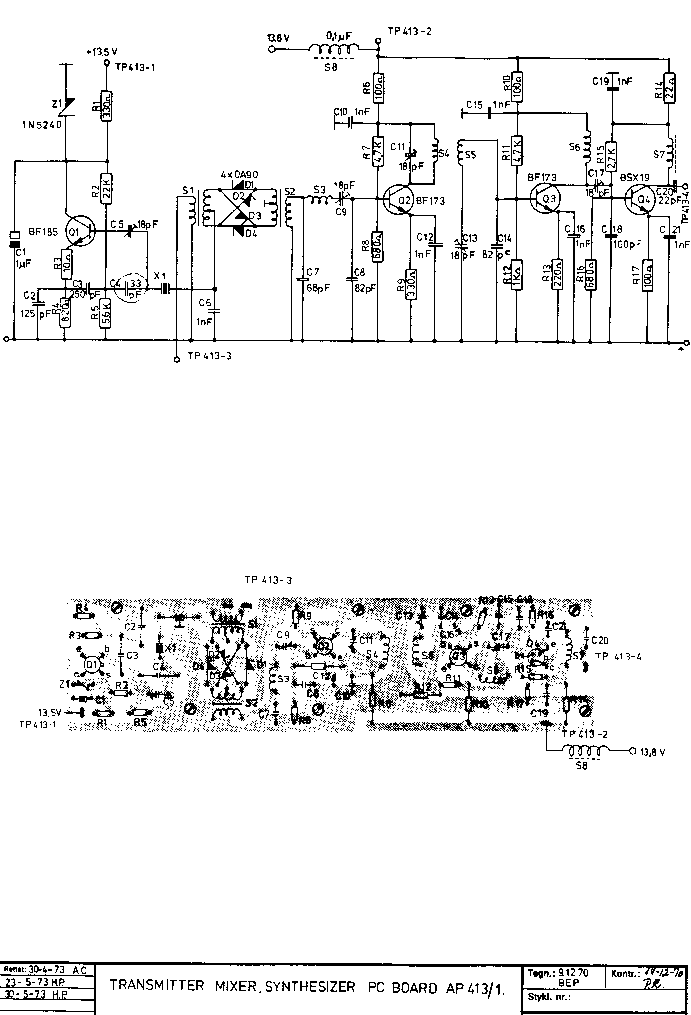
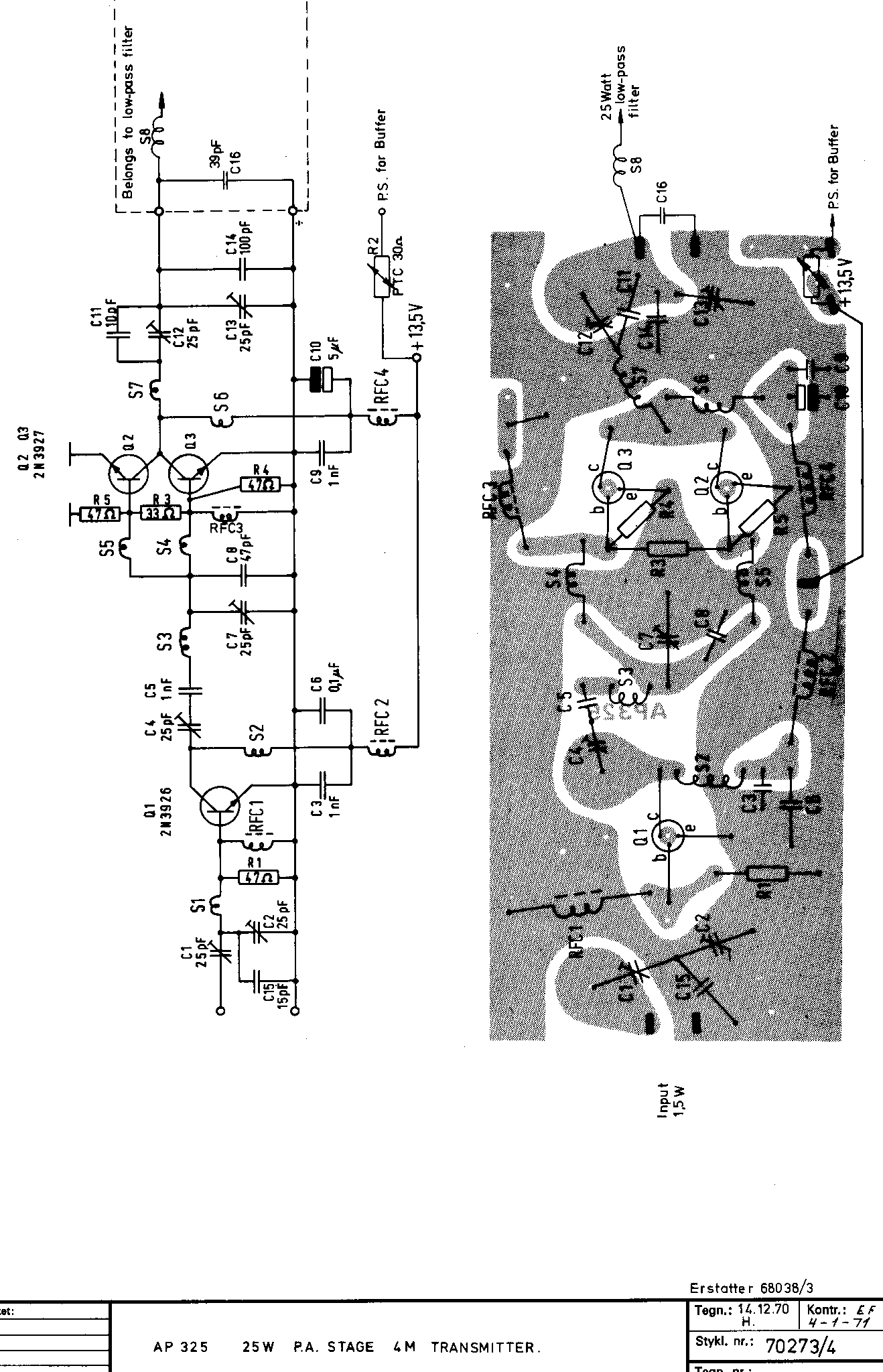
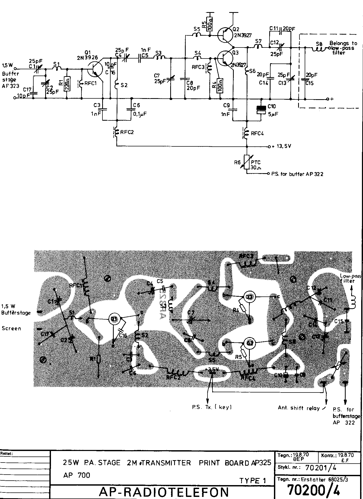
Sender frekvens: Xtal 5.015625Mhz * 16 = 80.250Mhz (4 stk doublere)
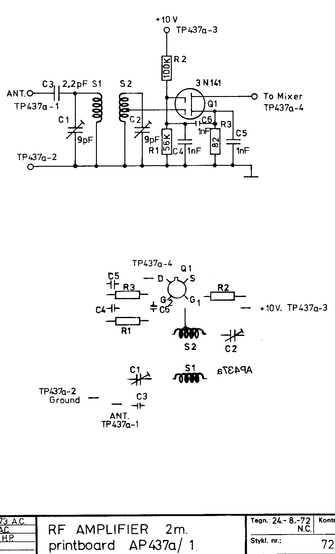
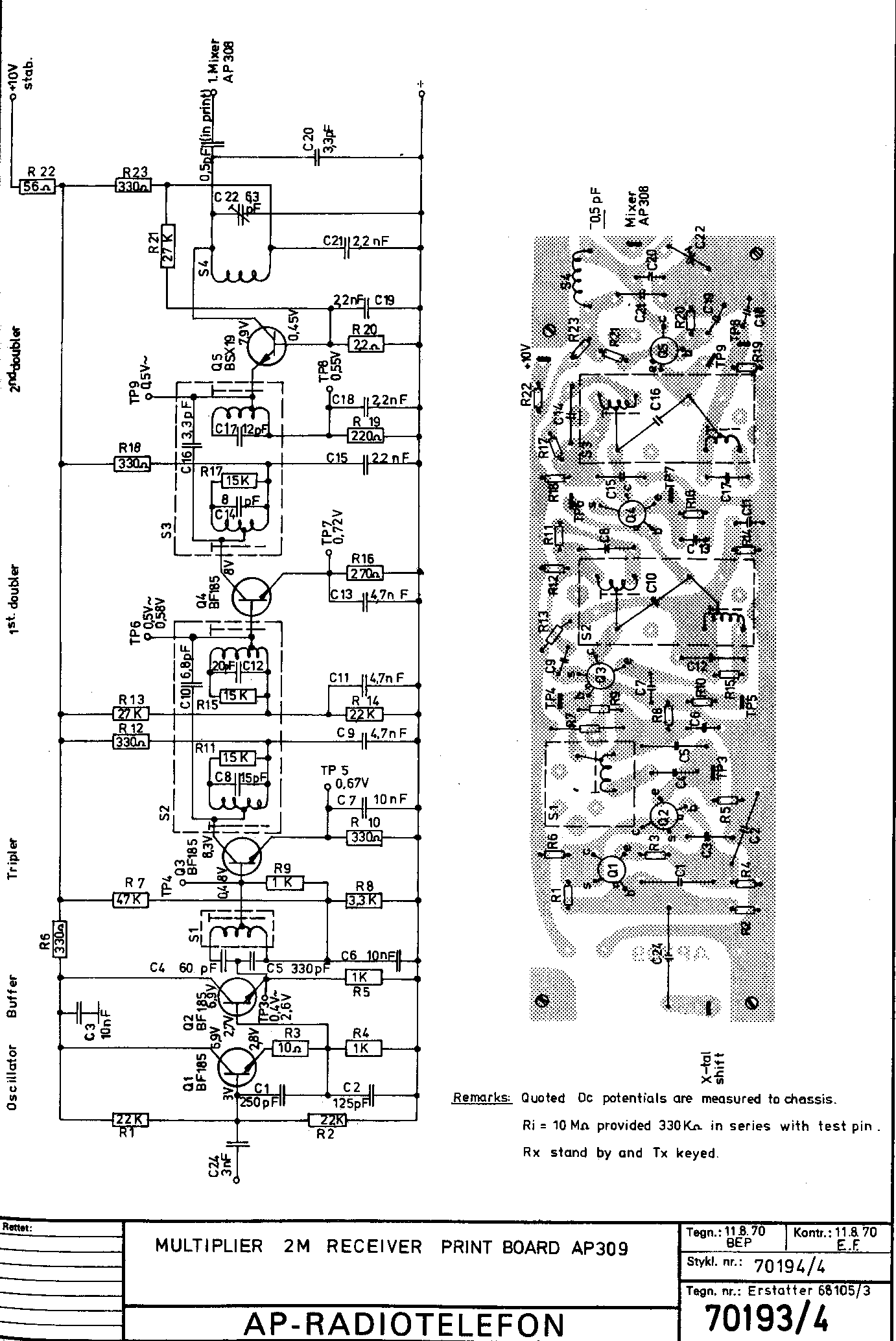
2m modtager har 2 mellemfrekvenser: 10.7Mhz og 455Khz
Modtager blander injection signal er underliggende, modtager krystal frekvens eksempel:
Xtal 11.19166 Mhz * 12 = 134.300 blander frekvens + 10.7 = 145.000 Modtager frekvens. ( tribler - doubler - doubler )
Sender frekvens: Xtal 9.0625Mhz * 16 = 145.000Mhz (4 stk doublere)
Billede af komplet 4m (80MHz) inden i set fra bunden:
37 DPI 39Kb
75 DPI 121Kb
Billede af komplet 4m (80MHz) inden i set fra toppen:
37 DPI 43Kb
75 DPI 149Kb